배송 위치를 선택하세요.

국가/지역 페이지 선택은 가격, 선적 옵션 및 제품 가용성과 같은 다양한 요인에 영향을 줄 수 있습니다.
담당자
한국이구스

인천광역시 연수구 벤처로

12번길 42

+82 32 821 2911
+82 32 821 2913
KR(KO)

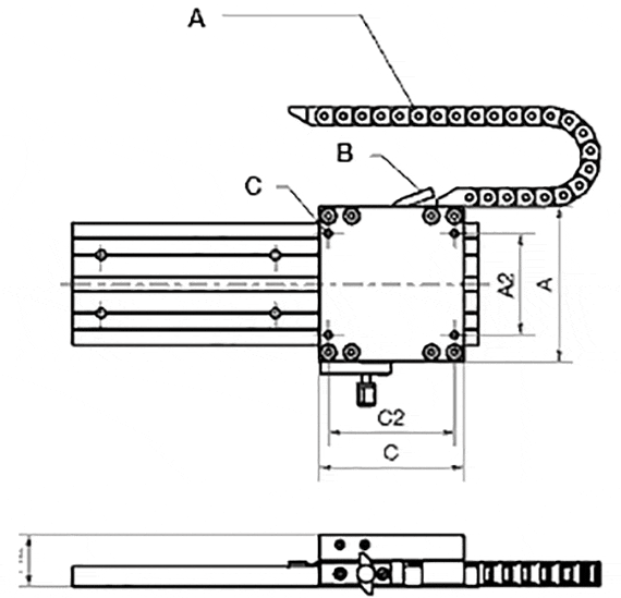
drylin® WKMEX-10-80: 바로 설치 가능한 측정 시스템

A = 에너지체인 045.10.028.0, 품목의 일부분 아님
B = 신호 케이블
C = K2
drylin® WKMEX 측정 시스템이 차지하는 매우 작은 설치 공간. 센서 헤드는 높이가 36mm에 불과한 캐리지에 통합됩니다. 3개의 센서 옵션이 있으며, 2개는 TTL 라인 드라이버와 호환 가능합니다. 시그널 케이블의 가이드에 이구스 에너지체인 045.10.028.0을 추천합니다. 특정 길이의 부품 번호는
E2 micro 시스템
easychain® 시스템을 참조하세요.

외부 데이터 출력을 위한 바로 설치 가능 시스템

4 엣지 트리거링 (디스플레이 또는 컨트롤의 파라미터 설정, 예: IW4)및 +20°C의 주변 환경, 해상도: ±(0.025 + 0.02 · L), L = 측정 길이(m), 반복성 = ±0.025mm

1 엣지 트리거링 (디스플레이 또는 컨트롤의 파라미터 설정, 예: IW1)및 +20°C의 주변 환경, 해상도: ±(0.1 + 0.02 · L), L = 측정 길이(m), 반복성 = ±0.025mm

통합형 전자 평가 장치와 소형 센서

출력 신호: 차동 모드로 유지하는 단락 방지와 인버팅 시그널(A. A/, B, B/, Z, Z/)

배송 프로그램 측정 장치

모든 유형 A A2 C C2 H2 K2 해상도    
  [mm] [mm] [mm] [mm] [mm] [mm] [mm]    
WKMEX-10-80-2.5-00-01 107 70 100 87 36 M6 0.1 문의하기로 장바구니에 추가
WKMEX-10-80-2.5-01-01 107 70 100 87 36 M6 0.1 문의하기로 장바구니에 추가
WKMEX-10-80-2.5-11-01 107 70 100 87 36 M6 0.1 문의하기로 장바구니에 추가
선택된 부품에 대해 더 많은 정보:
3D CAD (캐드) 3D CAD (캐드)
견본주문 견본주문
PDF PDF
견적 요청 견적 요청
myCatalog myCatalog
  센서 타입 공칭 전압 출력 전원 신호 케이블 최대 길이
  00 10 - 30 V 10 - 30 V 30 m
  01 10 - 30 V 5 V (TTL 라인 드라이버) 50 m
  11 5 V 5 V (TTL 라인 드라이버) 10 m
사양
측정 원리 증분
반복 정확도 ± 1 증가
극 분할 5 mm
센서 하우징 아연 다이캐스팅
보호 등급 IP67
작동 온도 -10 … +70° C
최대 습기 95%, 비 응축
최대 속도 4,0 m/s
VDC 전원 공급 5 VDC 또는 10 - 30 VDC
정격 전류 5 VDC: 최대 200mA
10~30VDC: 최대 150mA
내부 평가 전자장치 내부 평가 전자장치
출력 전원 5 V-TTL 라인 드라이버 또는 10 - 30 V_HTL
소스 트랙 A, A‘,B, B‘, Z, Z‘
최대 케이블 길이 최대 케이블 길이 5V/5V-TTL = 10m
10-30V/10-30V = 30m
10-30V/5V-TTL = 50m

전자 테이프로부터 최대 허용 거리 2,0 mm
연결 방법 개방형 케이블 엔드

추가 정보:


배송 문의

용어 "Apiro", "AutoChain", "CFRIP", "chainflex", "chainge", "chains for cranes", "ConProtect", "cradle-chain", "CTD", "drygear", "drylin", "dryspin", "dry-tech", "dryway", "easy chain", "e-chain", "e-chain systems", "e-ketten", "e-kettensysteme", "e-loop", "energy chain", "energy chain systems", "enjoyneering", "e-skin", "e-spool", "fixflex", "flizz", "i.Cee", "ibow", "igear", "iglidur", "igubal", "igumid", "igus", "igus improves what moves", "igus:bike", "igusGO", "igutex", "iguverse", "iguversum", "kineKIT", "kopla", "manus", "motion plastics", "motion polymers", "motionary", "plastics for longer life", "print2mold", "Rawbot", "RBTX", "readycable", "readychain", "ReBeL", "ReCyycle", "reguse", "robolink", "Rohbot", "savfe", "speedigus", "superwise", "take the dryway", "tribofilament", "tribotape", "triflex", "twisterchain", "when it moves, igus improves", "xirodur", "xiros" 및 "yes" 는 독일 및 일부 외국에서 igus® SE & Co. KG/ Cologne의 법적 보호를 받는 상표입니다 이는 독일, 유럽연합, 미국 및/또는 기타 국가 또는 관할권에서 igus SE & Co. KG 또는 igus의 계열사가 보유한 상표(예: 출원 중인 상표 또는 등록 상표)의 전체 목록이 아닙니다.

igus® SE & Co. KG는 Allen Bradley, B&R, Baumüller, Beckhoff, Lahr, Control Techniques, Danaher Motion, ELAU, FAGOR, FANUC, Festo, Heidenhain, Jetter, Lenze, LinMot, LTi DRiVES, Mitsubishi, NUM, Parker, Bosch Rexroth, SEW, Siemens, Stöber 및 이 웹사이트에서 언급된 다른 모든 드라이브 제조업체의 어떠한 제품도 판매하지 않음을 알려드립니다. 이구스에서 공급하는 제품은 igus® SE & Co. KG의 제품입니다.