배송 위치를 선택하세요.

국가/지역 페이지 선택은 가격, 선적 옵션 및 제품 가용성과 같은 다양한 요인에 영향을 줄 수 있습니다.
담당자
한국이구스

인천광역시 연수구 벤처로

12번길 42

+82 32 821 2911
+82 32 821 2913
KR(KO)

drylin® SLW 크로스 슬라이드

drylin® SLW-XY-1040

특성:

수동 조정을 위한 저비용 슬라이드 솔루션

무급유 및 내부식성

XY 테이블에서 최대 스트로크 길이: 300mm (설치 사이즈: 1040/1080)

XY 테이블에서 최대 스트로크 길이: 150mm (설치 사이즈: 0630)

옵션으로 프리텐셔닝된 SLWE-XY-PL 버전 사용 가능(설치 사이즈: 1040/1080)

다양한 액세서리 이용 가능(핸드 휠, 커서 등)

drylin® SLW-XY-0630 크로스 슬라이드 drylin® SLW-XY-0630
drylin® SLW-XY-1080 크로스 슬라이드 drylin® SLW-XY-1080

이 항목에 대한 맞춤:


SLW 크로스 슬라이드


전체 시스템 주문하기

몇 가지 단계로 구성:

1. 설치 사이즈 선택
2. 스트로크 길이 선택 (mm)
3. 액세서리 부품 선택

힌트:

자세한 내용은 아래 언급된 페이지에서 뿐만 아니라 도면과 표 아래에서 찾을 수 있습니다.

drylin® SLW - 크로스 슬라이드 - 일체형 시스템

단계 1

크로스 슬라이드의 설치 사이즈를 선택하세요.

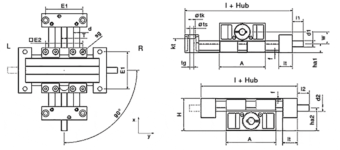
technical drawing
설치 사이즈:

길이 및 중량[mm]

주문 번호 A
-0.3
[mm]
H
 
[mm]
E1
±0.15
[mm]
E2
±0.15
[mm]
베이스 -
길이 lx
[mm]
베이스 -
길이 ly
[mm]
f
 
[mm]
lt
 
[mm]
tk
±0.1
[mm]
ts
 
[mm]
tg
 
kt
 
[mm]
10 - 15일 내 배송 (영업일 기준) SLW-XY-0630 54 38 40 45 94 94 1.5 20 9 7 - 6
10 - 15일 내 배송 (영업일 기준) SLW-XY-0660 85 38 71 76 125 125 1.5 20 11 6.6 - 8
10 - 15일 내 배송 (영업일 기준) SLW-XY-1040 74 48 60 60 117 117 1.5 22 11 6.8 M8 6.4
배송 문의 SLW-XY-1040-PL (1) 74 48 60 60 117 117 1.5 22 11 6.8 M8 6.4
배송 문의 SLW-XY-1080 108 48 94 94 151 151 1.5 22 11 6.8 M8 6.4
배송 문의 SLW-XY-1080-PL (1) 108 48 94 94 151 151 1.5 22 11 6.8 M8 6.4
10 - 15일 내 배송 (영업일 기준) SLW-XY-1660 104 72.5 84 86 154 154 1.5 25 15 9 - 8.6
배송 문의 SLW-XY-2080 134 82 116 116 190 190 1.5 28 15 8.6 - 8.6
선택된 부품에 대해 더 많은 정보:
3D CAD (캐드) 3D CAD (캐드)
견본주문 견본주문
PDF PDF
견적 요청 견적 요청
myCatalog myCatalog

(1) 사전 설치

사이즈 [mm]

주문 번호 sg
 

d
 
[mm]
T
 
l1
 
[mm]
d1
표준형
d1
대체품
l2
 
[mm]
d2
표준형
d2
대체품
ha1
 
[mm]
ha2
 
[mm]
W
ha2-ha1
[mm]
10 - 15일 내 배송 (영업일 기준) SLW-XY-0630 M4 5 M8 15 M8 M8 15 M8 9.5 28.5 18,4
10 - 15일 내 배송 (영업일 기준) SLW-XY-0660 M4 5 Tr08x1.5 15 Tr08x1.5 15 - 9.5 28.5 19
10 - 15일 내 배송 (영업일 기준) SLW-XY-1040 M6 10 TR10x2 17 TR10x2 Tr10x2 17 6h9 14.5 33.5 19
배송 문의 SLW-XY-1040-PL (1) M6 10 TR10x2 17 TR10x2 Tr10x2 17 6h9 14.5 33.5 19
배송 문의 SLW-XY-1080 M6 10 TR10x2 17 TR10x2 Tr10x2 17 6h9 14.5 33.5 19
배송 문의 SLW-XY-1080-PL (1) M6 10 TR10x2 17 TR10x2 Tr10x2 17 6h9 14.5 33.5 19
10 - 15일 내 배송 (영업일 기준) SLW-XY-1660 M8 16 M8 20 TR14x4 8h9 20 8h9 8h9 18.5 54 35,5
배송 문의 SLW-XY-2080 M8 20 M8 26 12h9 26 12h9 23 59 36
선택된 부품에 대해 더 많은 정보:
3D CAD (캐드) 3D CAD (캐드)
견본주문 견본주문
PDF PDF
견적 요청 견적 요청
myCatalog myCatalog

사각 플랜지 포함 SLW-XY-0630
(1) 사전 설치

오른쪽이나 왼쪽에 장착할 Y-축의 핸드 휠을 주문할 수 있습니다.
왼쪽: x-방향에서 스트로크 길이가 200mm, y-방향에서 스트로크 길이가 300mm인 SLW-XY-0630-AWM-L-200-300.
오른쪽: x-방향에서 스트로크 길이가 200mm, y-방향에서 스트로크 길이가 300mm인 SLW-XY-0630-AWM-L-200-300.

이 항목에 대한 맞춤:

당일 배송 drylin® E - 제품 개요

윤활이 필요 없는 drylin® 구동 기술의 도구 상자와 시스템 개념의 지속적인 개발.

당일 배송
10 - 15일 내 배송 (영업일 기준)
배송 문의

용어 "Apiro", "AutoChain", "CFRIP", "chainflex", "chainge", "chains for cranes", "ConProtect", "cradle-chain", "CTD", "drygear", "drylin", "dryspin", "dry-tech", "dryway", "easy chain", "e-chain", "e-chain systems", "e-ketten", "e-kettensysteme", "e-loop", "energy chain", "energy chain systems", "enjoyneering", "e-skin", "e-spool", "fixflex", "flizz", "i.Cee", "ibow", "igear", "iglidur", "igubal", "igumid", "igus", "igus improves what moves", "igus:bike", "igusGO", "igutex", "iguverse", "iguversum", "kineKIT", "kopla", "manus", "motion plastics", "motion polymers", "motionary", "plastics for longer life", "print2mold", "Rawbot", "RBTX", "readycable", "readychain", "ReBeL", "ReCyycle", "reguse", "robolink", "Rohbot", "savfe", "speedigus", "superwise", "take the dryway", "tribofilament", "tribotape", "triflex", "twisterchain", "when it moves, igus improves", "xirodur", "xiros" 및 "yes" 는 독일 및 일부 외국에서 igus® SE & Co. KG/ Cologne의 법적 보호를 받는 상표입니다 이는 독일, 유럽연합, 미국 및/또는 기타 국가 또는 관할권에서 igus SE & Co. KG 또는 igus의 계열사가 보유한 상표(예: 출원 중인 상표 또는 등록 상표)의 전체 목록이 아닙니다.

igus® SE & Co. KG는 Allen Bradley, B&R, Baumüller, Beckhoff, Lahr, Control Techniques, Danaher Motion, ELAU, FAGOR, FANUC, Festo, Heidenhain, Jetter, Lenze, LinMot, LTi DRiVES, Mitsubishi, NUM, Parker, Bosch Rexroth, SEW, Siemens, Stöber 및 이 웹사이트에서 언급된 다른 모든 드라이브 제조업체의 어떠한 제품도 판매하지 않음을 알려드립니다. 이구스에서 공급하는 제품은 igus® SE & Co. KG의 제품입니다.